当前位置:首页 > 科技数码 > 正文

苹果密谋折叠屏iPhone:外形史上最大变化

发布时间:2018-04-02 09:42:49 来源:转载 作者:驱动之家

你期待能够折叠的iPhone吗?

苹果密谋折叠屏iPhone:外形史上最大变化 智能公会

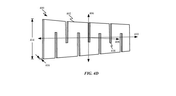
从美国专利局送出的最新专利来看,苹果正在密谋大招,而iPhone也将迎来史上外形最大改变,因为他们已经在准备可折叠的电池了。

苹果密谋折叠屏iPhone:外形史上最大变化 智能公会

跟以往专利遥不可及不一样的,折叠屏手机是下一个阶段产业重点发展的方向,目前上游厂商都在准备相关技术,而华为、三星也都已经在准备相应产品。

而之前产业链就曾爆料称,苹果最快会在2019年带来能够折叠的iPhone手机,其实仔细想想,100%真全面屏+屏幕折叠的造型,这样组合下来还是非常梦幻的。

大家期待吗?

苹果密谋折叠屏iPhone:外形史上最大变化 智能公会

发表评论0条

热度视频
广告